Abbildung ähnlich
Geberit

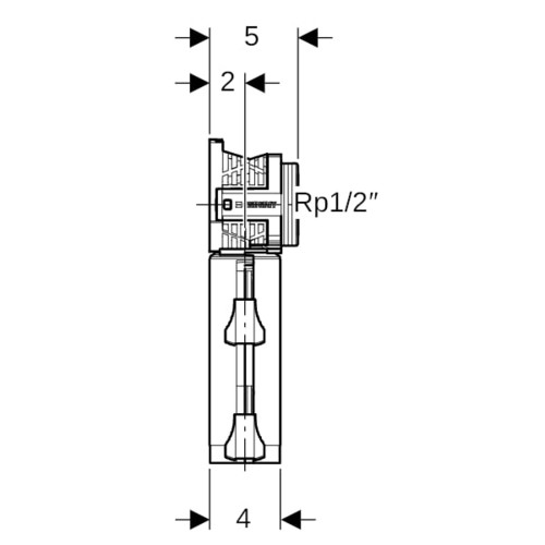
Geberit Doppelanschlussdose PushFit DN 15, Rp 1/2, 5 cm, 90Grad, für Schnellkupplung

W877620 4025410948014 650489003
auf Anfrage
je 1 STCK
keine Verfügbarkeitsinformationen

Folgeartikel

Dieser wird automatisch Ihrem Warenkorb hinzugefügt.

Verkaufsdaten

Mindestbestellmenge 1 STCK
Bestellschritt 1 STCK

Beschreibung

für Systemrohr PB mit Schutzrohr, für Trinkwasser, schallgedämmt, nicht ausziehbar über Dosenkopf, Dosenkopf mit Außengewinde für Bauschutz rund, drei Befestigungspunkte

Merkmale

Produktklasse Wandscheibe
Serie PushFit
Internet Link https://catalog.geberit.de/de-DE/650.489.00.3.html
Werkstoff Bronze
Oberflächenschutz unbehandelt
Nenndurchmesser Anschluss 2 1/2 Zoll
Werkstoffgüte CuSn5Zn5Pb2
UBA-Positivliste ja
Größe DN 15 x 1/2"
Form rechtwinklig
Gewindemaß Armatur 1/2 Zoll
Systemgebunden ja
Mediumtemperatur (Dauerbetrieb) 0 - 70 °C

Zubehörempfehlung für Sie: