Abbildung ähnlich
Heinrich Schulte

Schulte Spültisch-Einhebelmischer alpha_300 Ausladung 205mm, schwenkbar, mit Geräteanschluss, verchromt

W326947 4020929598071 Z059807-00010
auf Anfrage
je 1 STCK
keine Verfügbarkeitsinformationen

Folgeartikel

Dieser wird automatisch Ihrem Warenkorb hinzugefügt.

Verkaufsdaten

Mindestbestellmenge 1 STCK
Bestellschritt 1 STCK

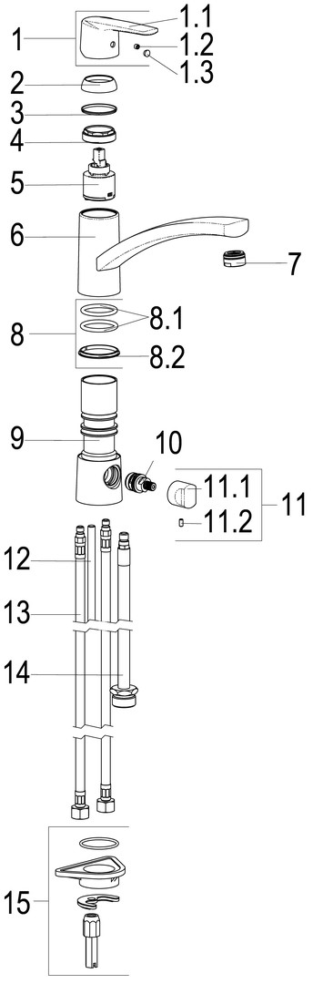
Beschreibung

Kartusche 35 mm, mit Heißwasserbegrenzer, Werkstoffe nach TrinkwV und UBA, Hebel Metall, Flexschläuche 3/8" DIN DVGW, Strahlregler Durchflussklasse C, Antikalk, mit Schnellbefestigung

Merkmale

Produktklasse Spültischarmatur
Serie alpha_300
Internet Link https://heinrichschulte.de/produkt/alpha_300-mit-geraeteanschluss-kuechenarmatur/
Farbe Chrom
Ausführung mechanisch
Oberflächenschutz verchromt
Montageart Platte/Armaturenloch
UBA-Positivliste ja
Mit Temperaturbegrenzung ja
Anschluss Vorlauf Innengewinde
Anschlussmaß Zufuhr 3/8 Zoll
Ausführung der Temperaturregelung manuell
Anzahl der Armaturenlöcher 1
Vorsprung Auslauf 206 mm
Material Hahn Edelstahl
Ausführung Auslauf drehbar oben
Aufbauhöhe gesamt 186 mm
Aufbauhöhe Unterkante Hahnauslass 148 mm
Mit Rosetten nein
Akzentfarbe Chrom
Mundstück Wasserhahn Strahlregler
Spülzeit einstellbar nein
Niederdruckausführung nein
Volumenstromklasse C
Auslauftyp Rohr
Gangreserve-Akku nein
Mit Trafo nein
Geeignet für kochendes Wasser nein
Ausziehbarer Ausguss mit Perlator nein
Ausziehbarer Ausguss mit Handdusche nein
Kaltstart-Funktion nein
Art des Griffs eingriffig
Selbstverschließend nein
Rückflusssicherung nach EN 1717 ohne

Ersatzteile:

Heinrich Schulte

SH Verschraubung für Serie 62 W327774

Heinrich Schulte

SH GEWINDESTANGE M8 X 90 W327756